JeeLowCode技术社区
首页
插件市场
技术问题库
低代码问题库
工作流问题库
WebSocket问题库
技术文档
俱乐部
登录/注册
旧账号登录入口
新增菜单对应表单新增页面
breeze
2025-12-11 10:49
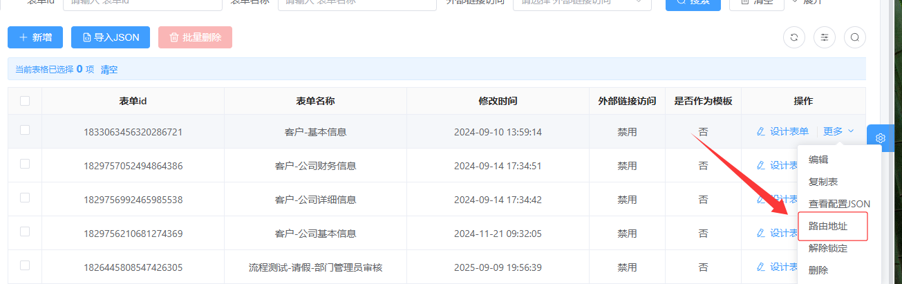
我需要配置一个菜单直接对应某个自定义表单的新增页面 这种能配置出来吗 还是得手动添加一个页面
项目:
JeeLowCode
评论区
超级管理员
2025-12-11 10:54
回复
回复
登录/注册
发表新帖
JeeLowCode官方网站
JeeLowCode低代码平台
JeeLowCode可视化工作流
🔥热门帖子
如何开票?
流程Flowable需求收集
JeeLowCode 意见需求收集
流程模块404解决
前端启动
扫码关注
友情链接
JeeLowCode低代码官网
JeeLowCode低代码体验中心
JeeLowCode低代码社区
魔晶智能开发者平台
MidJourney图文生成接口
添加客服
联系我们