JeeLowCode技术社区
首页
插件市场
技术问题库
低代码问题库
工作流问题库
WebSocket问题库
技术文档
俱乐部
登录/注册
旧账号登录入口
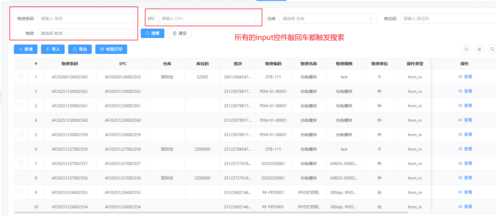
JS表单开发中,能否统一给input输入框加回车键触发搜索
D
dtbadmin
2026-01-28 17:20
项目:
JeeLowCode
1
评论区
超级管理员
2026-01-28 17:44
回复
后续扩展到表格配置中
回复
登录/注册
发表新帖
JeeLowCode官方网站
JeeLowCode低代码平台
JeeLowCode可视化工作流
🔥热门帖子
如何开票?
流程Flowable需求收集
JeeLowCode 意见需求收集
流程模块404解决
前端启动
扫码关注
友情链接
JeeLowCode低代码官网
JeeLowCode低代码体验中心
JeeLowCode低代码社区
魔晶智能开发者平台
MidJourney图文生成接口
添加客服
联系我们
后续扩展到表格配置中