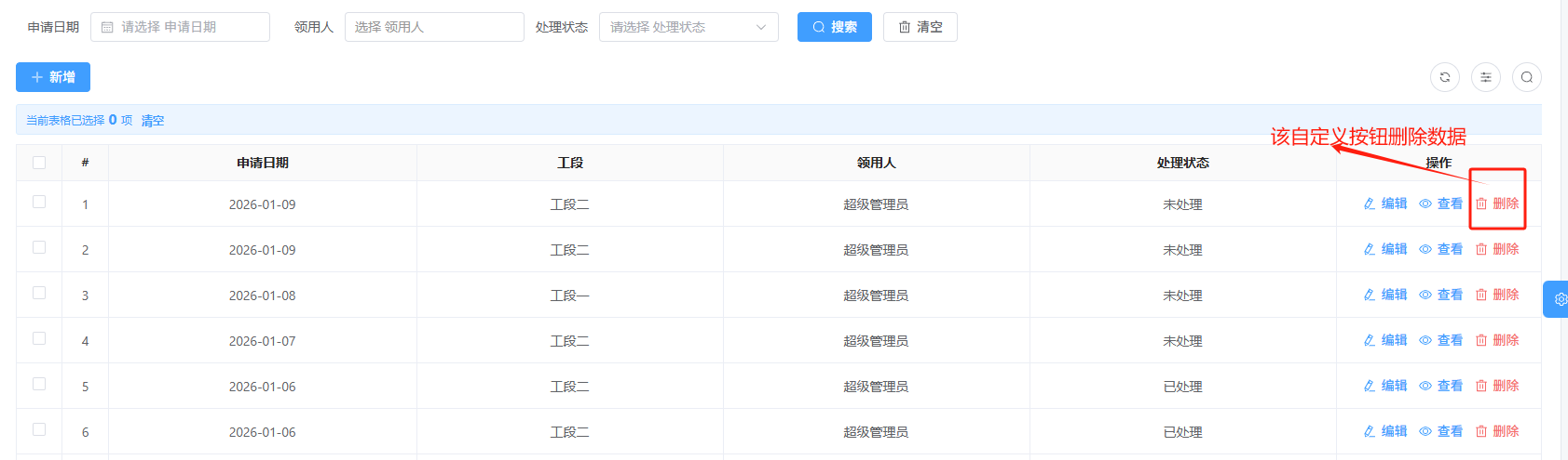
如何使用自定义按钮删除数据

使用自定义操作列按钮触发删除数据

评论区

超级管理员 2026-01-12 09:45

js增强配置按钮点击事件,调用删除接口

库巴 2026-01-12 09:52

@超级管理员

你好,怎么调用删除接口,这个不会写

回复

扫码关注

添加客服
图片未加载,请刷新后再试
联系我们