JeeLowCode技术社区
首页
插件市场
技术问题库
低代码问题库
技术文档
低代码文档
移动端文档
微服务版文档
WebSocket文档
工作流文档
俱乐部
登录/注册
旧账号登录入口
表格操作列如何设置宽度
一往无前
2026-04-26 22:58
已解决
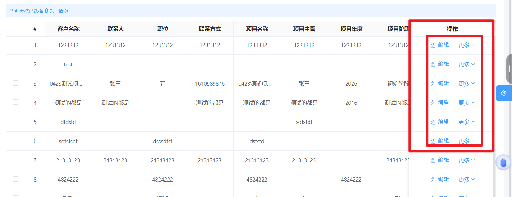
表格操作列如何设置宽度,目前默认的太宽,影响了正常内容的显示。
项目:
JeeLowCode
评论区
超级管理员
2026-04-27 09:01
回复
回复
登录/注册
发表新帖
JeeLowCode官方网站
JeeLowCode低代码平台
JeeLowCode可视化工作流
🔥热门帖子
如何开票?
流程Flowable需求收集
JeeLowCode 意见需求收集
流程模块404解决
前端启动
扫码关注
友情链接
JeeLowCode低代码官网
JeeLowCode低代码体验中心
JeeLowCode低代码社区
魔晶智能开发者平台
MidJourney图文生成接口
添加客服
联系我们